О товаре
Линейный подшипник LME12-UU-OP - бесфланцевый подшипник открытого типа для вала ∅12 мм. Применяется в системах линейного перемещения, где вал имеет опорную подшину или боковую стойку.
Расшифровка артикула
- LME - линейный подшипник европейской размерности
- 12 - внутренний диаметр посадки на вал: 12 мм
- UU - двусторонние резиновые уплотнения (закрытое исполнение с обоих торцов)
- OP - открытое исполнение корпуса (Open): продольный паз для монтажа на опорном валу
Полное обозначение: LME12-UU-OP (TECHNIX). Альтернативное обозначение по классификации NBS/ISB: KBO1232PP.
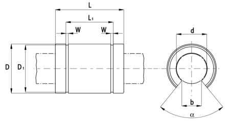
Конструкция и устройство
Подшипник состоит из закалённой стальной гильзы с продольным пазом (углом раскрытия 78°), полиамидного сепаратора с тремя рядами рециркулирующих шариков, двусторонних резиновых уплотнений (тип UU) и стопорных канавок на наружной поверхности. Материал - высокоуглеродистая хромированная сталь.
Размерный ряд серии LME-UU-OP
Ниже приведена таблица всех типоразмеров серии. Текущий товар выделен.
| Модель | d, мм | D, мм | L, мм | L1, мм | D1, мм | h, мм | W, мм | α, ° | C, Н | C0, Н |
|---|---|---|---|---|---|---|---|---|---|---|
| LME12-UU-OP | 12 | 22 | 32 | 22,9 | 21 | 7,5 | 1,3 | 78 | 410 | 590 |
| LME16-UU-OP | 16 | 26 | 36 | 24,9 | 24,9 | 10 | 1,3 | 78 | 770 | 1170 |
| LME20-UU-OP | 20 | 32 | 45 | 31,5 | 30,3 | 10 | 1,6 | 60 | 860 | 1370 |
| LME25-UU-OP | 25 | 40 | 58 | 44,1 | 37,5 | 12,5 | 1,85 | 60 | 980 | 1560 |
| LME30-UU-OP | 30 | 47 | 68 | 52,1 | 44,5 | 12,5 | 1,85 | 50 | 1560 | 2740 |
| LME40-UU-OP | 40 | 62 | 80 | 60,6 | 59 | 16,8 | 2,15 | 50 | 2150 | 4010 |
| LME50-UU-OP | 50 | 75 | 100 | 77,6 | 72 | 21 | 2,65 | 50 | 3820 | 7930 |
Технические параметры и условия эксплуатации
Подшипник работает по принципу рециркуляции шариков в 3 замкнутых дорожках качения. Продольный паз с углом раскрытия 78° позволяет монтировать подшипник на вал с боковой опорой или стойкой. Динамическая грузоподъёмность - 410 Н, статическая - 590 Н. Двустороннее уплотнение (UU) защищает рабочую зону от пыли и влаги. Рабочий диапазон температур: от −20°C до +80°C.
- Внутренний диаметр (d): 12 мм
- Наружный диаметр (D): 22 мм
- Длина (L): 32 мм
- Длина монтажной площадки (L1): 22,9 мм
- Диаметр дна канавки (D1): 21 мм
- Зазор на корпусе (h): 7,5 мм
- Ширина канавки (W): 1,3 мм
- Угол раскрытия (α): 78°
- Количество рециркуляций (рядов шариков): 3
- Динамическая нагрузка (C): 410 Н
- Статическая нагрузка (C0): 590 Н
- Рабочая температура: от −20°C до +80°C
- Материал: высокоуглеродистая хромированная сталь
- Уплотнение: двустороннее резиновое (тип UU)
Применяемость
Подшипник LME12-UU-OP применяется в системах линейного перемещения, где вал ∅12 мм имеет боковую опору или стойку, не позволяющую использовать закрытый подшипник. Открытый корпус обеспечивает доступ к направляющему валу сбоку, что упрощает обслуживание и смазку в труднодоступных узлах.
- Станки с ЧПУ с опорными направляющими валами
- 3D-принтеры, лазерные граверы и плоттеры
- Промышленные роботы и манипуляторы
- Системы автоматической подачи и сортировки
- Лабораторное и медицинское оборудование
- Прецизионные измерительные машины (КИМ)
Аналоги
Подшипник LME12-UU-OP (TECHNIX) является полным аналогом следующих изделий:
| Производитель | Обозначение аналога | Тип соответствия |
|---|---|---|
| NBS/ISB | KBO1232PP | Полный аналог |
| INA | KBO12-PP / LBCT12-2LS | Полный аналог |
| SKF | LBCT12-2LS | Полный аналог |
| THK | LME12UU-OP | Полный аналог |
| Samick | LME12UU-OP | Полный аналог |
Часто задаваемые вопросы
- Как правильно установить LME12-UU-OP?
Перед монтажом убедитесь, что вал имеет диаметр 12 мм с допуском h6/g6 и шероховатость не хуже Ra 0,4. Аккуратно надвигайте подшипник на вал без перекоса - ударный монтаж недопустим. Зафиксируйте подшипник в корпусе стопорным кольцом или зажимом, совместив паз с опорной конструкцией вала. Перед вводом в эксплуатацию заложите пластичную смазку (литол-24 или ЦИАТИМ-201). - Как определить, что подшипник требует замены?
Признаки износа: появление радиального люфта, повышенный шум и вибрация при движении, затруднённый ход каретки, следы питтинга или шелушения на дорожках качения. При обнаружении хотя бы одного признака рекомендуется плановая замена. Периодичность профилактического осмотра - каждые 500–1000 часов наработки. - Чем LME12-UU-OP отличается от LME12-UU (закрытого типа)?
Модификация без суффикса OP - стандартное закрытое исполнение с цельным корпусом. Подшипник OP имеет продольный паз (угол 78°) и предназначен для монтажа на валах с боковыми стойками или опорными шинами. Наружные размеры и посадочный диаметр идентичны - взаимозамена возможна только при наличии соответствующего паза в корпусе. - Совместим ли LME12-UU-OP с аналогами других брендов?
Да. Серия LME-OP стандартизирована по ISO и полностью взаимозаменяема с KBO1232PP (NBS/ISB), LBCT12-2LS (SKF/INA) и аналогами THK и Samick. Все посадочные размеры идентичны - замена производится без доработки корпусных деталей. - Нужна ли дополнительная смазка при эксплуатации?
Подшипник поставляется с заводской смазкой. В нормальных условиях дополнительная смазка вносится каждые 500–800 часов. При работе в условиях загрязнения или повышенных нагрузок - каждые 200–300 часов. Рекомендуемые смазки: литол-24, ЦИАТИМ-201, Mobilux EP 2.
Службы доставки в ПВЗ:
- СДЭК
- Boxberry
- Яндекс Доставка
- DPD
Службы доставки курьером:
- Собственная служба доставки
- СДЭК
- Достависта
Подробнее о доставке транспортными компаниями:
1. Доставка через СДЭК
СДЭК – это удобная и быстрая доставка по всей России. Вы можете выбрать один из вариантов:
- Доставка до пункта выдачи – ваш заказ будет доставлен в ближайший к вам офис СДЭК, где его можно забрать в удобное время.- Курьерская доставка – заказ привезут прямо к вам домой или в офис.
Сроки доставки зависят от региона и рассчитываются индивидуально при оформлении заказа.*
2. Доставка транспортной компанией «Деловые Линии»
Если вам требуется перевозка крупногабаритного или тяжелого груза, мы рекомендуем транспортную компанию «Деловые Линии».
- Доставка возможна в большинство населенных пунктов России.- Вы можете выбрать удобный терминал для самовывоза или заказать адресную доставку.
Стоимость рассчитывается индивидуально в зависимости от веса, габаритов и региона.*
О самовывозе со склада
Вы можете самостоятельно забрать заказ в Санкт-Петербурге по адресу:
📍 Люботинский проспект, 5
Преимущества самовывоза:
✔️ Возможность проверить товар перед получением.
✔️ Отсутствие затрат на доставку.
✔️ Гибкий график выдачи.
✔️ Возможность оплаты заказа банковской картой при получении заказа.
Перед приездом на склад обязательно уточните наличие товара у менеджера.
Доставка осуществляется в пределах территорий Российской Федерации и Республики Беларусь.
*обращаем Ваше внимание, что стоимость доставки рассчитывается согласно тарификациям транспортных компаний и курьерских служб.
Линейные подшипники обеспечивают ровное и плавное перемещение деталей по прямой, что важно для станков, 3D-принтеров, манипуляторов и автоматических линий. От правильного выбора детали зависит срок службы оборудования и качество работы узлов при серийном производстве.
В этом материале разберем, как устроены линейные подшипники, чем отличаются между собой и что учитывать при выборе модели под задачи производства.
При установке линейных подшипников исполнители нередко допускают ошибки, которые становятся причиной быстрого выхода из строя этих узлов. В предлагаемом обзоре рассматривается, как предупредить погрешности монтажа, с учетом состава наиболее целесообразных мер с точки зрения технической реализации и экономической целесообразности применяемых технологий.

